抖音涉足K歌,先天的优势埋了一颗“商标”的雷

栏目:行业新闻 查看(283)

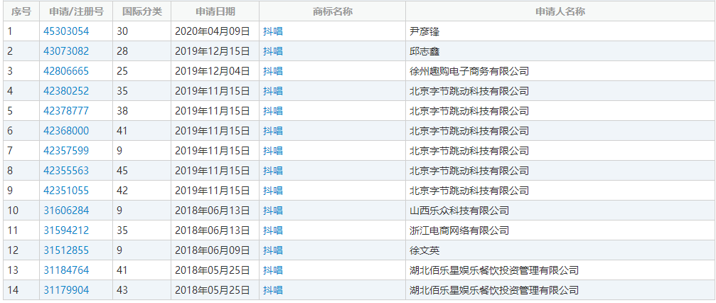
  中国商标网公示,北京字节跳动科技有限公司所申请的“抖唱”部分商标初审已经公布,但是与其他主题申请重合的类别,迟迟没有公布初审日期。根据在先申请原则,很有可能被驳回,如果抖音想要在相同领域使用该商标,除了申请无效,可能会面临着高价购买的局面。

  

商标

 

  据了解,“抖唱”是抖音App即将上线的一款K歌小程序,它的核心功能是异步合唱,表现形式为音乐人将合唱MV视频发布到“抖唱”后,用户可以在该合唱MV中加入自己的声音和表演,生成新的视频并在网上进行二次发布。加之抖音的用户量庞大,抖唱依托抖音平台占据一定优势,但也暴露了一些弊端。

  如果抖唱想在后期向其他领域发展,建议申请45类商标,从上图我们可以看出,已经有人开始在抖音没有注册的领域进行抢注了。如果各位老板想要注册某款商标,难点主要表现在注册时间长、容易被异议、注册成功概率低三方面,只要提前做好以下工作,你喜欢的商标定会收入囊中。

  一、注册准备

  1、查询工作

  查询是指想要进行商标注册的申请人在提出注册申请前,对要申请的意向商标和已经通过商标局核准注册的商标是否有相同或者近似的查询搜索工作。值得注意的是,商标查询虽然不是注册商标的必经程序,但是查询工作可以相应程度的提高商标注册成功的可能性,是个捷径。

  2、资料准备

  以企业名义提出申请,需要提供公司的营业执照副本原件、复印件和公章,并填写相应商标的注册申请书。

  二、申请注册

  1、提出申请

  目前,我国商标法是按照商品国际分类来执行的,把商品和服务项目共分为四十五类。申请商标注册时,应该按照分类表里的分类确定申请商标的相应类别。同一申请人既要用到商品类别商标,又要用到服务类别商标的,应当在不同类别分别提出注册申请。

  2、商标申请日的确定

  确定商标申请时间是相当重要的,我国的商标注册采用的是申请在先的原则,如果发生了多个申请人要申请同一个商标,申请日的先后就会起到确定商标专用权的决定性作用,商标注册成功的日期为商标局收到申请书件的日期为准。所以若有商标的想法,尽早准备能成功一半。

  三、形式审查

  形式审查是商标局对提交的商标注册申请书面文件是否有差错来进行审查。对通过审查的申请,核发商标申请受理通知书。

  四、商标审查

  商标审查是商标局对商标注册申请是否合乎相关法规的规定所进行的检查,需要进行资料搜索、分析比对、调查研究之后,最终决定该商标是通过初步审定还是要驳回申请。

  五、初审公告

  商标的审定是指商标注册申请经过审查之后,对符合法律有关规定的,允许其注册并予以公告。初步审定的商标自刊登公告之日起,若三个月内没有人对此提出异议,该商标即可予以注册,同时刊登注册公告。

  六、领取注册证

  注册商标申请人应当在接到商标局通知领取商标证之后,三个月内到商标局现场领取相应证书。

  从上面的商标申请表上不难看出,在抖音申请了“抖唱”商标后,已经有个人开始在其他类别进行申请。当“抖唱”K歌项目落成后,会有更多的人关注并申请“抖唱”商标,会影响到抖唱后期的发展;同时,如果其他企业和个人凭借抖唱K歌带来的流量发展自己的事业,不免有借势的嫌疑。

  如果出现违法违规行为,大众首先会想到的是抖音的抖唱K歌,为后期发展埋下了一颗颗商标的雷。所以,建议在申请商标的时候,最好选择45类,否则将会有高价购买商标和限制项目发展的局面发生。

  tips:同日申请处理方式:

  两个或者两个以上的商标注册申请人在同一天对同一种商品或者类似商品上以相同或者近似的商标申请注册的,初步审定并公告使用在先的商标,驳回其他人的申请,不予公告。

  同时,商标法第19条也规定了同日申请的商标确定申请权的三种途径:

  1、提供在先使用证据;

  2、自行协商;

  3、抽签决定,未参加抽签视为放弃申请。

  需注意的是,申请人无论采用哪种途径均只是确定“申请权”归属,在获得申请权后,商标仍需按照正常的审查程序进行,同样可能会面临商标驳回的情况。

  受疫情影响,国家知识产权局商标局决定,将上半年商标注册同日申请抽签的时间定在7月21日开始,采取线上抽签方式。

扫二维码与业务经理沟通

我们在微信上24小时期待你的声音

解答本文疑问/业务咨询/流程咨询/商务合作

【马上就办:www.msjbzc.com】提供工商注册、代理记账,为您解答各种财税疑难问题!